TIBCO BusinessConnect Container Edition Components

TIBCO BusinessConnect Container Edition comprises the following components. Each component of TIBCO BusinessConnect Container Edition should run in a Docker container. To implement the different features of TIBCO BusinessConnect in the Docker environment, you must create a Docker image of each component. These component images run in their Docker containers and communicate with each other using TIBCO Enterprise Message Service messaging system.

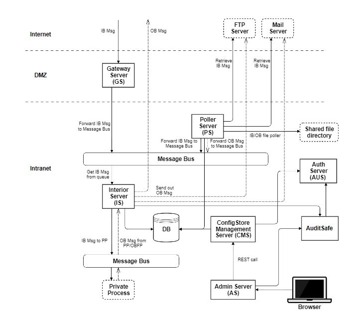
The following diagram shows different components in TIBCO BusinessConnect Container Edition and their interaction with each other:

BusinessConnect Container Edition Components

Gateway Server

Gateway Server is located in the demilitarized zone (DMZ), and functions as the front gate by receiving the inbound transactions from trading partners. Multiple Gateway Servers can work together for load balancing.

This server has several restrictions on the networks it can access. It is used to host HTTP gateway service, to receive B2B communications directly from the Internet with security features such as SSL and SSH. The firewall between the Gateway Server and the rest of your system protects against the threat of malicious communications. TIBCO BusinessConnect Container Edition Gateway Server is a standalone Java executable that is not dependent on TIBCO ActiveMatrix BusinessWorks. However, it still needs TIBCO Enterprise Message Service to communicate with the Interior Server. This server performs the following tasks:

  • Receives inbound request through HTTP/S/CA transports protocols.
  • Communicates with Interior Server using the TIBCO Enterprise Message Service message bus for Inbound messages that are received.
  • Allows trading partner to exchange messages using business protocols.
  • Hosts HTTP Service which supports HTTP, HTTPS, and HTTPSCA transports for document exchange.

Interior Server

Interior Server is the server on which TIBCO BusinessConnect Container Edition is installed on top of the other required TIBCO software products. Multiple Interior Servers can work as a cluster to achieve load balancing and fault tolerance. This server is located inside the company’s firewall and performs the following tasks:

  • Handles all messaging level activities, such as message packaging and unpacking, encryption and decryption, signature and verification, and so on, according to numerous transport and vertical business standards.
  • Takes care of business level logic to be executed by each individual protocol, such as document schema validation, business level acknowledgment generation, and so on.
  • Communicates with Gateway Server and Poller Server using TIBCO Enterprise Message Service message bus for Inbound messages.
  • It also communicates with AuditSafe server using REST APIs to post audit logs.

Poller Server

  • Communicates with Interior Server using TIBCO Enterprise Message Service message bus to receive inbound messages.
  • Retrieves inbound request from FTP and SFTP servers, Mail server, and shared file directory.
  • Includes both inbound and outbound pollers.

Admin Server

  • Exchanges data with ConfigStore Management Server (CMS) using CMS REST API calls.
  • Allows you to configure and manage BusinessConnect features like configuration of participants, operation editor, and business agreement.

ConfigStore Management Server

  • Communicates with Admin Server and has access to the database.
  • Performs CRUD operation on configstore.

Authentication Server

  • Stores user information for both BusinessConnect Container Edition and AuditSafe

  • Authenticates user login for both BusinessConnect Container Edition and AuditSafe AuditSafe

AuditSafe

  • TIBCO BusinessConnect Container Edition saves audit logs to AuditSafe using REST API.

  • Allows you to view the chain of logs for a transaction and detail for each log received, download payloads, configure views for AuditSafe dashboard.

FS REST

  • TIBCO Foresight(R) REST API is a REST API providing EDI validation, response document generation, and translation services.

    For detailed information, see TIBCO Foresight(R) REST API documentation.


For detailed information of the components, see the following high-level architecture of TIBCO BusinessConnect Container Edition:

High-level Architecture

Database

This database contains the configuration information used and data log created by BusinessConnect Container Edition protocols, runtime data used by the BusinessConnect Container Edition server and protocols.

Communication Between the Servers

The TIBCO Enterprise message service is used by Gateway Server and Poller server to communicate with Interior Server for many purposes, such as the initial notifications when a Gateway Server is started, and the notification when a large message arrives from trading partners.

Additionally, TIBCO Enterprise Message Service is also used for transferring configurations necessary for starting the gateway services, such as the HTTPS server keys and so on. TIBCO Enterprise Message Service is also used for transferring small size messages between the Gateway Server and Interior Server.

Interior Server sends inbound messages to the private process and gets the request messages from private process using TIBCO Enterprise Message Service. Similarly, Poller Server forwards inbound messages to the TIBCO Enterprise Message Service message bus, which further sends message request to the Interior Server.

The load balancing feature of TIBCO Enterprise Message Service is leveraged by Interior Servers, so the inbound traffic is load balanced between these servers.